Posledná epizóda

Najpopulárnejšie hry

Najčítanejšie

Sony si patentovalo AI, která umožní hrám na Playstationu, aby se hrály samy

Technologie nese název Ghost Player

Profilový obrázok autora článku - Jakub Fanta Jakub Fanta
Astro Bot hra

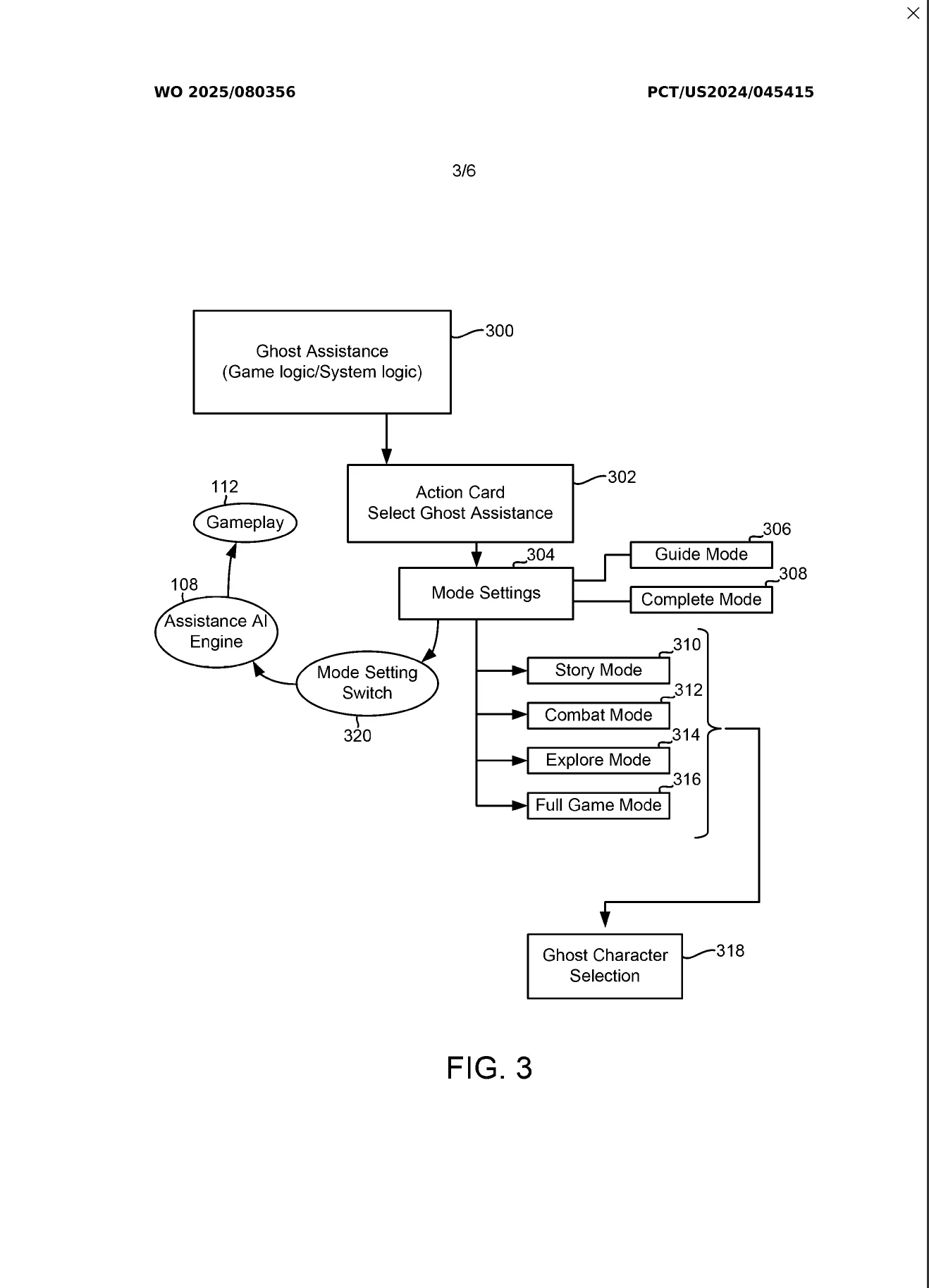
Stalo se vám někdy, že jste se ve hře zasekli tak, že jste prostě nemohli dál ? V dnešní době už to nejspíš tolik nebývá, ale pokud by se vám to náhodou stalo, Sony se rozhodlo to vyřešit. Patentovalo si AI technologii Ghost Player, která v případě vašeho záseku, dohraje hru za vás. No dobře, ne úplně dohraje, ale prostě složitou část zahraje za vás.

Jak je popsáno v patentových dokumentech, v režimu Ghost Player hráči vyvolávají AI generovanou "ghost" verzi hráčské postavy, která může buď vyřešit konkrétní část úrovně za vás, nebo ji kompletně dokončit. Přijde vám to ujeté ? Ano, je to ujeté, ale taková je dnešní doba.

Ale ať si zase neděláme jen srandu, tak hry už dlouhou dobu obsahují spoustu pomocníků s hádankami nebo soubojem. Především u Sony a jejich her je to běžné. Pamatujme například na pomocníky s hádankami v God of War Ragnarok, novinářskou God verzi The Last of Us nebo stealth plazení v The Last of Us Part 2.

Páči sa ti článok? Podpor nás na Patreone. Ďakujeme.

Profilový obrázok autora článku - Jakub Fanta

Jakub Fanta Hviezda

Zapálený milovník strategií, adventur, RPG (hlavně těch od Bethesdy) a čestný hráč Kingdom Come. Jo a ještě hraju 20 let World of Warcraft

Zobraziť komentáre (0)

Komentáre

Na pridávanie komentárov musíš byť prihlásený

Najpopulárnejšie hry